ECS云服务器如何开启端口
ECS云服务器默认情况下只开启了几个常用的端口。在实际建网站过程中,往往需要开户其它服务器端口。这在服务器管理后台,可以自己开启的。
方法/步骤
- 点击云服务器ECS,进入服务器控制台,点击要选择的服务器;

- 进入服务器实例列表,找到想要增加端口的实例,点击后面的更多;

- 点击更多后列表中找到安全组配置,并点击;

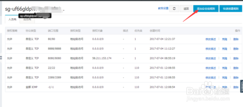
- 点击配置规则,跳转到的页面如图所示,其中圈出来的部分就是已经开放的端口,如果想添加新的端口就点击添加安全组规则,如下图

- 在弹出窗口中输入内容,比如添加22端口,如图所示,(必须以22/22的形式);

- 点击确定后看看自己的安全组规则中是否多了一个22的端口呢,如果有那恭喜你已经开通成功啦。
